マイコン
参考サイト
LPC1114
LPC1114FN28 DIPタイプ
ARM Cortex-M0搭載 低消費電力32bitマイコン
最大50MHzのクロックスピード
Flashメモリ 32KB プログラム領域
SRAMメモリ 4KB データ領域
電源電圧:1.8~3.6V
メモリーマップ

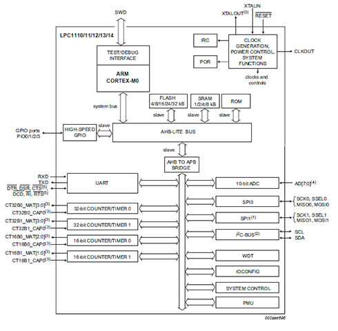
ブロックダイアグラム

ピン配列(ベアメタル)

| ピン番号 | PIO | 電源 | UART | タイマー | A/D IN | SPIO | I2C | SWD | 水晶発振 | その他 | Reserved |
|---|---|---|---|---|---|---|---|---|---|---|---|
| 1 | PIO0_8 | CT16B0_MAT0 | MISO0 | ||||||||
| 2 | PIO0_9 | CT16B0_MAT1 | MOSI0 | ||||||||
| 3 | PIO0_10 | CT16B0_MAT2 | SCK0 | SWCLK | |||||||
| 4 | PIO0_11 | CT32B0_MAT3 | AD0 | R | |||||||
| 5 | PIO0_5 | SDA | |||||||||
| 6 | PIO0_6 | SCK0 | |||||||||
| 7 | VDDA | ||||||||||
| 8 | VSSA | ||||||||||
| 9 | PIO1_0 | CT32B1_CAP0 | AD1 | R | |||||||
| 10 | PIO1_1 | CT32B1_MAT0 | AD2 | R | |||||||
| 11 | PIO1_2 | CT32B1_MAT1 | AD3 | R | |||||||
| 12 | PIO1_3 | CT32B1_MAT2 | AD4 | SWDIO | |||||||
| 13 | PIO1_4 | CT32B1_MAT3 | AD5 | WAKEUP | |||||||
| 14 | PIO1_5 | RTS | CT32B0_CAP0 | ||||||||
| 15 | PIO1_6 | RXD | CT32B0_MAT0 | ||||||||
| 16 | PIO1_7 | TXD | CT32B0_MAT1 | ||||||||
| 17 | PIO1_8 | CT16B1_CAP0 | |||||||||
| 18 | PIO1_9 | CT16B1_MAT0 | |||||||||
| 19 | XTALOUT | ||||||||||
| 20 | XTALIN | ||||||||||
| 21 | VDD | ||||||||||
| 22 | VSS | ||||||||||
| 23 | PIO0_0 | RESET | |||||||||
| 24 | PIO0_1 | CT32B0_MAT2 | CLKOUT | ||||||||
| 25 | PIO0_2 | CT16B0_CAP0 | SSEL0 | ||||||||
| 26 | PIO0_3 | ||||||||||
| 27 | PIO0_4 | SCL | |||||||||
| 28 | PIO0_7 | CTS |
ピン配列(MBEDライブラリ)
